山東萬象環境科技有限公司
聯系人:劉經理
聯系電話:13276361891
客服Q Q:1773439458
公司地址:山東省濰坊高新區新城街道玉清社區光電路155號濰坊高新區光電產業加速器(一期)1號樓301

PRODUCT
聯系人:劉經理
聯系電話:13276361891
客服Q Q:1773439458
公司地址:山東省濰坊高新區新城街道玉清社區光電路155號濰坊高新區光電產業加速器(一期)1號樓301

產品型號:WX-LM1
產品價格:電議
產品品牌:萬象系
一、路面狀況傳感器產品介紹
路面狀況傳感器又稱路面狀況檢測器,路面結冰監測傳感器,路面狀況傳感器采用多光譜測量技術,能準確檢測出道路表面結冰、積雪和積水的厚度,通過識別路面狀態,給人們提供預警信號,防止因路面結冰影響行車安全。
路面狀況傳感器又稱路面狀況檢測器,路面傳感器,路面狀況傳感器是一款非接觸式路面狀態檢測器,采用遙感技術,避免了對道路的破壞,采用多光譜測量技術使得能準確檢測道出道路表面結冰、積雪和積水的厚度。
路面狀況傳感器又稱路面狀況檢測器,路面狀況傳感器采用遙感技術,多光譜測量技術使得能準確檢測道出道路表面結冰、積雪和積水的存在狀態和厚度,同時還能實時監測影響交通安全的大霧、雨和雪等天氣現象。
WX-LM1系列非接觸式路面狀態檢測器,它采用遙感技術,避免了對道路的破壞,從而不會因為安裝道路氣象站引起的對交通的干擾。多光譜測量技術使得能準確檢測道出道路表面結冰、積雪和積水的存在狀態和厚度,同時還能實時監測影響交通安全的大霧、雨和雪等天氣現象。
二、路面狀況傳感器功能
l檢測路面積水、積雪、結冰狀態
l遠距離遙感檢測路面、橋面狀況
l非埋入式安裝快捷簡便
l車流量和事故多發區域
l雨雪多發區域
l維護成本低
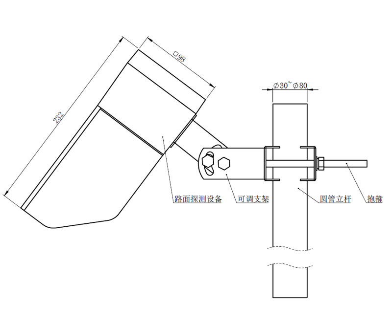
三、路面狀況傳感器產品尺寸圖

四、主要指標
型號 | WX-LM3(停售) | WX-LM1 |
檢測距離及檢測區域直徑 | 2-8米;23cm | |
對水平線的安裝角 | 30-80 | |
電源及功耗 | DC12-24V;0.6W | |
工作溫度和濕 | 溫度:-40oC 至 +60oC;濕度:0 至 95% | |
積水厚 | - | 0-10mm |
覆冰厚 | - | 0-2mm |
積雪厚 | - | 0-2mm |
濕滑程 | - | 0.01(濕滑)-0.82(摩擦強) |
路面狀態報告 | 干燥、潮、 濕、 雪、 冰、 冰水混合 | |
公路天氣現象(選配) | 路面溫度:oC 至 +60oC | |
天氣現象:雨;雪;大霧 | ||
路面材料 | 混凝土、瀝青路面 | |
通訊 | RS485、RS232 | |
水文流量站:在青海省海南州上的優勢盡顯
2025-09-08 09:49:00水位雨量流速流量監測站:硬核設計,多維感知水文變化
2025-04-08 12:54:04水文監測系統:智馭水流,守護流域安全
2024-09-23 08:47:00農業四情監測系統——為農業生產提供科學決策依據
2024-07-29 08:45:46并網式光伏環境氣象站,從陽光到數據:氣象站如何解碼光伏發電密碼?
2025-11-04 11:05:08農業氣象監測站如何照顧作物?
2025-11-03 11:11:15能見度監測站,從模糊到清晰:一臺設備如何看透迷霧中的危險
2025-11-03 11:09:42隔空測流——手持式電波流速儀
2025-11-04 11:06:37雨污排水管網水質監測系統介紹
2025-11-04 10:43:49天然氧吧監測站——空氣好不好?這個彩屏監測站告訴你答案
2025-11-03 10:51:29